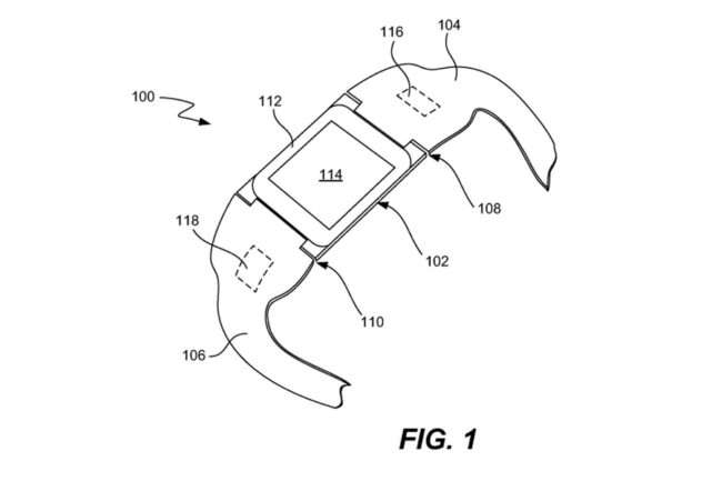
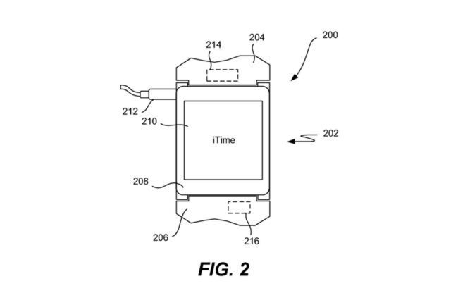
Встречайте iTime – умные часы, которые собирается выпустить Apple. Компания из Купертино получила патент на носимый гаджет, которым можно управлять взмахом руки. Патент описывает устройство как «электронные наручные часы».

Смарт-часы iTime способны синхронизироваться со смартфоном iPhone или планшетом iPad. В патенте, опубликованном на сайте Бюро по патентам и товарным знакам США, сказано, что «устройство может быть выполнено как одно целое с электронным браслетом». Это может указывать на то, что помимо умных часов в планах Apple еще и умный браслет, который внесет разнообразие в ряд устройств от конкурирующих компаний, таких как Samsung и Motorola.
Также сообщается, что гаджет iTime может быть использован для осуществления телефонных звонков и обмена текстовыми сообщениями без подключения к другому мобильному устройству. Первым новый патент обнаружил американский ресурс AppleInsider. Заявка на патент, чье авторство приписывают Альберту Голко, Матиасу Шмидту и Феликсу Альваресу, была подана в 2011 году.

Голко развивает в Apple продукцию бренда iPhone. Шмидт работал над медиаплеерами iPod Shuffle и iPod Nano. За время своего пребывания в компании он получил семь патентов, за исключением патента iTime. Оставив Apple в 2011 году, Шмидт устроился на работу к производителю умных термостатов Nest, которого недавно купила компания Google. Альварес тоже уволился из Apple и перешел в Google.
Будут ли смарт-часы iWatch, чей выход ожидается в октябре, похожи на электронное устройство iTime, неизвестно. Единственное, что подтверждает этот патент – Apple смакует идею умных часов на протяжении долгого времени.




Новости, статьи и анонсы публикаций
Чат с читателямиСвободное общение и обсуждение материалов