Инженеры Tesla регулярно работают над различными улучшениями для того, чтобы автомобили этой компании стали еще более надежными, функциональными, а главное дешевыми в производстве (и соответственно более доступными). При этом, если не брать во внимание «начинку» авто, даже производство корпуса до сих пор обходится компании очень дорого. Именно эту проблему и хочет решить Илон Маск. Его идея заключается в том, чтобы отливать из металла корпус машины целиком, не тратя время и средства на сборку кузова из разрозненных деталей.

Зачем нужно отливать корпус авто целиком?
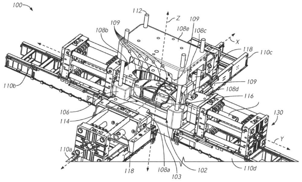
Новую установку для отливки корпуса целиком господин Маск собирается использовать при производстве Tesla Model Y.
Принцип работы оборудования описан в новом патенте компании. Называется установка «разнонаправленная однослойная литейная машина для производства корпуса транспортного средства». Целесообразность нового подхода представители Tesla объясняют следующим образом:
Как правило, в контексте производства корпуса транспортного средства для отливки различных компонентов используется несколько аппаратов для литья под давлением. При этом одна часть машины изготавливается на специально созданной для этого установке. И таких установок может быть несколько десятков штук. Далее все компоненты от каждой литейной установки должны быть собраны вместе. При этом производственная линия каждой детали должна быть обеспечена соответствующим персоналом.
В этом есть смысл, ведь если (в теории) уменьшить количество этих литейных установок и сократить их количество до минимума, то и затраты на производство станут значительно меньше.


Когда Tesla будут производить машины по новой технологии?
Ожидается, что новая литейная установка должна появиться уже на новой фабрике Gigafactory 3 в Китае. Новая литейная установка сократит время сборки, эксплуатационные расходы и необходимую для организации сборочного цеха площадь. Это позволит в максимально короткий срок наладить массовый выпуск новой Model Y.
Это интересно: Tesla разрабатывает автомобиль с ракетным двигателем.
Помимо этого Tesla также планирует сократить число используемых кабелей при производстве авто. Например, в каждой Model S было установлено 3 километра проводов, в Model 3 — 1,5 километра. А в Model Y планируется использовать не более 100 метров проводов. Если запуск новой системы пройдет успешно, то это будет еще один шаг на пути к мечте Илона Маска — полностью автоматизированному производству автомобилей вообще без участия людей.
Обсудить эту и другие новости вы можете в нашем чате в Телеграм.



Новости, статьи и анонсы публикаций
Чат с читателямиСвободное общение и обсуждение материалов